作者: 得銳自動化:OMAL全國指定授權總代理發表時間:2019-04-28 15:55:21瀏覽量:2027【小中大】
對于很多初涉行業的人來說,閥門的安裝是一個難題,本文將以意大利著名閥門OMAL歐瑪爾蝶閥為例,詳細講解蝶閥的安裝。
1、 安裝前應先清理閥門內腔與密封面,不許有污物雜物附著;同時除清管道內的焊渣和其它雜物。
2、 管道對夾法蘭標準必須與蝶閥法蘭標準相符;建議使用對焊法蘭、蝶閥專用法蘭或整體法蘭; 不得使用平焊法蘭(套合式),如果用戶使用平焊法蘭,必須征得供應商同意。
3、 蝶閥嵌入前,在兩法蘭間留有一定距離,使得法蘭與密封無接觸,同時閥板處于半閉狀態。
4、 在法蘭間嵌入蝶閥之后,在上螺絲之前將蝶片轉換到開啟位置, 否則,將會在關閉閥門時損壞密封或導致密封永久變形!
5、閥座兩端突出閥體端面作為法蘭密封墊,蝶閥的安裝時無需再加密封墊。
6、本蝶閥可任意位置安裝(垂直、水平、傾斜),操作機構重的規格注意設置支撐架。

7、確認法蘭焊接無誤,蝶閥裝上后不允許再焊接法蘭,以免燙傷橡膠件和防腐覆層。
8、氣動蝶閥在使用過程中,氣源要保持干燥、 清潔, 以免異物進入氣缸影響正常工作。
9、蝶閥如遇啟閉失常,應查明原因, 排除故障,不得利用敲、 砸、撬和手柄接桿加長力臂等方法強行啟閉。
10、本蝶閥在貯存未用期間, 應保持干燥,不準露天存放,周圍不允許有有害物質侵蝕。
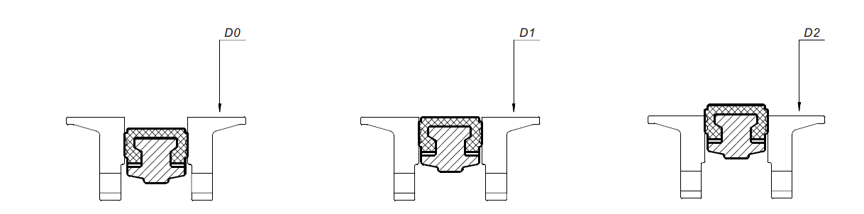
OMAL蝶閥的安裝在法蘭與管道法蘭之間不需要其它密封件,用螺栓及螺母連接即可。管道法蘭直徑可參照以下尺寸:
D0的最小管道法蘭直徑(閥門]居中位置為佳)。D1最佳管道法蘭直徑(建議選用)。
D2最大管道法蘭直徑(適用于低壓環境)。如有任何疑問可聯系我司技術部門。